Узел управления спринклерный воздушный, Техническое описание
1 Общие указания по эксплуатации
1.1 Узел управления спринклерный воздушный
УУ-С100/1,6Вз-ВФ.О4; УУ-С100/1,6Вз-ВФ.О4 -01; УУ-С150/1,6Вз-ВФ.О4; УУ-С150/1,6Вз-ВФ.О4 -01
(далее по тексту УУ) не предназначен для использования лицами (включая детей) с пониженными физическими, чувственными или умственными способностями или при отсутствии у них жизненного опыта или знаний, если они не находятся под контролем или не проинструктированы об использовании УУ лицом, ответственным за их безопасность.
1.2 После вскрытия упаковки проверить комплектность и произвести внешний осмотр УУ и его комплектующих.
1.3 Узел управления устанавливается вертикально (направление потока вверх).
1.4 Эксплуатацию УУ производить в соответствии с требованиями настоящего руководства по эксплуатации.
2 Назначение изделия
2.1 Узел управления спринклерный воздушный предназначен для работы в установках водяного и пенного пожаротушения; осуществляет подачу огнетушащего вещества в стационарных автоматических установках; выдает сигналы о своем срабатывании и для включения пожарного насоса.
2.2 УУ соответствует климатическому исполнению О категории размещения 4 для работы с нижним предельным значением температуры плюс 4 °С по ГОСТ 15150-69.
2.3 Пример условного обозначения Узел управленгия спринклерного воздушного с номинальным диаметром DN 100, с максимальным гидравлическим рабочим давлением 1,6 МПа, с вертикальным расположением на трубопроводе с фланцевым соединением, с климатическим исполнением О4:
УУ-С100/1,6Вз-ВФ.О4
2.4 Возможные исполнения УУ спринклерного воздушного представлены в таблице 1:
3 Комплект поставки
3.1 УУ поставляется в собранном виде, но имеет демонтированные комплектующие элементы, которые уложены отдельно.
3.2 Комплект поставки УУ приведен в таблице 2.
4 Основные технические характеристики УУ-С100/1,6Вз-ВФ.О4; УУ-С100/1,6Вз-ВФ.О4 -01; УУ-С150/1,6Вз-ВФ.О4; УУ-С150/1,6Вз-ВФ.О4 -01
4.1 Технические характеристики УУ приведены в таблице 3.
5 Устройство и принцип работы
5.1 Основным элементом УУ является клапан мембранный универсальный КСД типа КМУ (далее по тексту клапан) – нормально закрытое запорное устройство, предназначенное для пуска огнетушащего вещества при срабатывании пускового устройства и выдачи управляющего гидравлического импульса.
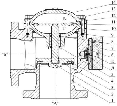
5.2 Клапан (рисунок 1; приложение В) состоит из корпуса 1 с входным "А" и выходным "Б" отверстиями, модуля 7, крышки 14, перегородки 9, соединенных с корпусом винтами 13. Между крышкой 14 и перегородкой 9 установлена мембрана 12, разделяющая рабочую камеру клапана на две полости В и Г и опирающаяся на опорный диск 11, закрепленный на штоке 5, который жестко связан с самоустанавливающимся затвором клапана, состоящим из клапана 2 и прокладки 4, закрепленной при помощи диска 3. В корпусе 1 выполнена посадочная поверхность (седло), предназначенная для герметично-го разделения полостей А и Б при закрытом затворе клапана. Герметичное соединение корпуса 1 и перегородки 9 обеспечивается прокладкой 10, а штока 5 и перегородки 9 -уплотнительным кольцом 8. Корпус 1 и модуль 7 образуют побудительную камеру, раз-деленную мембраной 6 на две полости Д и Е. Полость В клапана связана каналом с полостью Д и рабочим отверстием "Р" (рисунок 2), предназначенным для подключения к рабочему трубопроводу для заполнения их рабочей средой и создания в них давления. Полость Д связана каналами с полостью Г и сигнальным отверстием "С", предназначенным для подключения сигнального устройства и дренажной линии. Полость Е заполняется сжатым воздухом через отверстие побудительное "П", расположенное в нижней части модуля 7. Дренажное отверстие "Д", расположенное в полости Б, предназначено для бы-строго слива огнетушащего вещества (далее ОТВ) при техническом обслуживании. Контрольное отверстие "К", расположенное в полости Б, предназначено для связи с дренажной линией.

Рисунок 1 - Клапан мембранный универсальный КСД типа КМУ
"А" - входное отверстие, "Б" - выходное отверстие, 1 - корпус, 2 - клапан затвора, 3 - диск прижимной, 4 - прокладка, 5 - шток, 6 - мембрана побудительной камеры, 7 - модуль, 8 - кольцо уплотнительное, 9 - перегородка, 10 - прокладка, 11 - диск опорный,
12 - мембрана рабочей камеры, 13 - винты крепления крышки к корпусу, 14 - крышка.

Рисунок 2 - Клапан мембранный универсальный КСД типа КМУ. Общий вид
Д - отверстие дренажное, К – отверстие контрольное, П – отверстие побудительное, С – отверстие сигнальное, Р – отверстие рабочее
5.3 Общий вид УУ представлен на рисунке 3. Масса, габаритные и присоедини-тельные размеры УУ приведены в приложении А (таблица А.1). Гидравлическая принципиальная схема УУ приведена в приложении Б (таблица Б.1).

Рисунок 3 - Узел управления спринклерный воздушный
5.4 Два трехходовых крана (ВМ1, ВМ2) предназначены для отключения манометров при техническом обслуживании.
5.5 Два сигнализатора давления (НР1, НР2) предназначены для выдачи сигнала при срабатывании УУ. Сигнализаторы давления должны быть скоммутированы по схеме «ИЛИ».
5.6 Манометр (МН1) предназначен для контроля давления в подводящем трубопроводе.
5.7 Манометр (МН2) предназначен для контроля давления в побудительной камере УУ и в спринклерной воздушной секции. Электроконтактная группа манометра предназначена для коммутации электрических цепей в зависимости от величины измеряемого давления. Электроконтактная группа и стрелка прибора механически связаны и при переходе стрелки за пороговое значение происходит замыкание или размыкание электрической цепи.
5.8 Кран (КН1) предназначен для ручного пуска УУ (в дежурном режиме закрыт). 5.9 Кран (КН2) предназначен для включения и отключения рабочей камеры клапа-
на УУ от рабочего трубопровода (в дежурном режиме открыт). Фильтрующий элемент (Ф) предназначен для предохранения рабочих органов клапана и обвязки от засорения посторонними предметами.
5.10 Кран (КН3) предназначен для слива ОТВ в дренаж из клапана и питающего трубопровода (в дежурном режиме закрыт).
5.11 Клапан обратный (КО1) находится внутри модуля 7 (рисунок 1) и препятствуете сбросу давления в рабочей камере клапана при уменьшении давления в подводящем трубопроводе.
5.12 Клапан редукционный (РД) предназначен для ограничения максимального значения пневматического давления в побудительной камере УУ и в спринклерной воз-душной секции.
5.13 Кран (КН4) предназначен для включения и отключения заполнения побуди-тельной камеры УУ и спринклерной воздушной секции сжатым воздухом.
5.14 Клапан обратный (КО2) препятствует сбросу давления в побудительной камере УУ при уменьшении давления сжатого воздуха для исключения ложных срабатываний.
5.15 Клапан обратный (КО3) препятствует попаданию ОТВ в побудительную ка-меру УУ при его срабатывании.
5.16 Кран (КН5) в открытом положении обеспечивает максимальное проходное сечение сжатого воздуха, в закрытом положении обеспечивает проход сжатого воздуха через компенсатор. Компенсатор представляет собой сквозное отверстие, выполненное в шаре крана, и предназначен для компенсации утечек в побудительной магистрали.
5.17 Канал (А) предназначен для подключения акселератора - устройство дифференциального типа, обеспечивающее при срабатывании спринклерного оросителя ускорение срабатывания спринклерного воздушного УУ путем активного сброса давления воздуха из побудительной магистрали узла управления. Описание работы акселератора представлено в документации на него. При отсутствии акселератора канал (А) должен быть герметично закрыт. При необходимости принудительного пуска УУ, возможна за-мена акселератора на электромагнитный клапан.
5.18 Канал (ГО) предназначен для подключения пожарного звукового гидравлического оповещателя (при необходимости). При отсутствии гидравлического оповещателя данный канал должен быть герметично закрыт. При необходимости проверки работы сигнализаторов давления без пуска УУ в рабочий режим в данный канал можно подать гидравлическое давление. ВНИМАНИЕ! Величина гидравлического давления, подаваемого для проверки работоспособности сигнализаторов давления, не должна превышать значение 0,12 МПа.
5.19 Дренажная трубка представляет собой гибкую трубку, предназначенную для направления потока ОТВ в дренаж.
5.20 Принцип работы УУ:
При срабатывании спринклерного оросителя (или иного побудительного устройства), давление спринклерной воздушной секции и в побудительной камере УУ снижается. При превышении соотношения рабочих давлений 5:1 (ОТВ : воздух) давлением ОТВ из рабочей камеры клапана отжимается мембрана побудительной камеры и ОТВ перетекает в сигнальное отверстие. Давление в рабочей камере снижается и ОТВ под избыточным давлением во входной полости клапана открывает затвор. На пути стока ОТВ в дренаж в трубопроводе установлен компенсатор, создающий дополнительное сопротивление ОТВ и обеспечивающий необходимое давление для срабатывания сигнализаторов давления (НР1, НР2). Сигнализаторы давления срабатывают и выдают управляющий сигнал. УУ переходит в рабочий режим.
6 Требования безопасности
6.1 Требования безопасности – по ГОСТ 12.2.003–91, а также согласно Правилам устройства электроустановок.
6.2 Доступ к частям УУ должен быть удобным и безопасным согласно ГОСТ 12.4.009-83.
6.3 Запрещается проведение регулировок и наладочных работ на УУ в дежурном режиме.
7 Порядок установки и подготовки к работе
7.1 Установить УУ в соответствии с монтажным проектом. Для удобства монтажа УУ допускается временный демонтаж линии подключения сжатого воздуха. Установить
демонтированные комплектующие элементы УУ (таблица 2), соединить кран КН2 с под-водящим трубопроводом под задвижкой ЗД (приложение Б), соединить кран КН4 с компрессором, подключить побудительное устройство, обеспечить герметичность всех соединений.
7.2 ВНИМАНИЕ! Для надежной работы УУ необходимо использовать только предварительно осушенный и очищенный воздух.
7.3 ВНИМАНИЕ! Подача гидравлического давления в полости, предназначенные для работы со сжатым воздухом, запрещена.
7.4 Провести испытание на герметичность пробным гидравлическим давлением 1,25·Pраб.max в течение 10 мин.
7.5 Установку УУ в дежурный режим выполнять в следующей последовательности (рисунок 3):
закрыть все органы управления УУ (краны и задвижку);
открыть кран КН5, обеспечив максимальное проходное сечение при заполнении спринклерной воздушной секции и побудительной камеры УУ сжатым воздухом;
открыть кран КН4 для заполнения спринклерной воздушной секции и побуди-тельной камеры УУ сжатым воздухом. Контроль давления производить по маномет-ру МН2; Кран КН4 не закрывать
установить расчетное давление в спринклерной воздушной секции и побуди-тельной камере УУ при помощи клапана редукционного РД;
закрыть кран КН5, обеспечив проход сжатого воздуха через компенсатор; убедиться в отсутствии утечек в спринклерной воздушной секции и побудительной камере УУ;
при необходимости установить верхнее и нижнее пороговые значения с помощью электроконтактной группы манометра МН2 для контроля пневматического давления спринклерной воздушной секции и побудительной камеры УУ.
открыть кран КН2, поднять гидравлическое давление в рабочей камере над мембраной клапана, затвор клапана должен закрыться; Кран КН2 не закрывать;
открыть задвижку ЗД, создать под затвором клапана гидравлическое давление; убедиться в отсутствии постоянного истечения ОТВ в дренажную трубку,
которого в дежурном режиме быть не должно.
7.6 Произвести, при необходимости, пробный пуск УУ:
открыть кран КН1 (рукоятка красного цвета), при превышении соотношения рабочих давлений 5:1 (ОТВ : воздух) (или при срабатывании акселератора) затвор клапана должен открыться, а сигнализаторы давления НР1, НР2 должны выдать сигнал о срабатывании УУ;
установить УУ в дежурный режим согласно п. 7.5;
ВНИМАНИЕ! В рабочем режиме УУ из дренажной трубки сигнальной линии под давлением постоянно вытекает ОТВ, которое необходимо направлять в дренаж.
8 Техническое обслуживание
8.1 Техническое обслуживание является мерой поддержания работоспособности УУ, предупреждения поломок и неисправностей, а также повышения надежности работы, повышения безотказности и увеличения срока службы.
7
8.2 Техническое обслуживание УУ должно проводиться по планово-предупредительной системе, предусматривающей работы по годовому техническому обслуживанию:
технический осмотр; профилактический осмотр; регламентные работы.
8.3 Технический осмотр УУ необходимо проводить ежедневно путем внешнего осмотра. При этом проверяется:
соответствие давления проектному режиму (контролируется по манометрам МН1 и МН2);
плотность закрытия затвора клапана (контролируется по отсутствию постоянно-го истечения ОТВ через дренажную трубку сигнальной линии и клапан дренажный).
8.4 Профилактический осмотр УУ необходимо проводить один раз в квартал путем внешнего осмотра и устранения замеченных недостатков. При этом необходимо:
провести технический осмотр по п. 8.3; проверить состояние уплотнений; проверить состояние крепежных деталей;
проверить состояние проходных отверстий компенсатора КМ и дренажных тру-бок.
8.5 Регламентные работы по обслуживанию клапана должны совмещаться с регламентными работами по обслуживанию установки пожаротушения. При проведении регламентных работ необходимо выполнять следующие операции:
закрыть задвижку ЗД в системе на подводящем трубопроводе; закрыть кран КН2;
открыть кран КН1, сбросить давление из спринклерной воздушной секции и побудительной и рабочей камеры клапана;
открутить винты 13 (рисунок 1), снять крышку 14;
вынуть мембрану 12, произвести ее осмотр, при необходимости заменить; вынуть перегородку 9, проверить состояние прокладки 4, при необходимости
заменить;
произвести осмотр прокладки 10, при необходимости заменить;
произвести очистку внутренних поверхностей и каналов корпуса 1 от загрязнений и инородных материалов;
провести осмотр седла клапана и устранить обнаруженные дефекты; провести осмотр, чистку и смазку штока 5;
произвести сборку клапана;
открутить винты крепления модуля 7, снять модуль и промежуточную пластину, проверить состояние промежуточного уплотнения и мембраны побудительной камеры, при необходимости заменить;
произвести очистку внутренних поверхностей и каналов модуля 7 от загрязнений и инородных материалов;
установить модуль 7, сопоставив отверстия промежуточного уплотнения, про-межуточной пластины, мембраны побудительной камеры с отверстиями клапана 1;
провести проверку работы кранов КН1, КН2, КН3, КН4, клапана редукционно-го РД (рисунок 3) на герметичность уплотнений, при необходимости заменить;
провести проверку работы клапана обратного КО1 на герметичность, при необходимости уплотнение заменить (открутив винты на модуле 7 со стороны крана КН2 и демонтировав блок примыкающий). После замены уплотнения установить блок примыкающий с клапаном обратным, кольцами уплотнительным и пружиной на место;
провести проверку работы клапана обратного КО2 и КО3 на герметичность, при необходимости произвести очистку внутренних поверхностей и каналов от загрязнений и инородных материалов;
провести разборку фильтра Ф (рисунок 3), почистить сетку, собрать фильтр; провести осмотр и проверку работы манометров;
установить УУ в дежурный режим согласно п. 7.5;
произвести пробный пуск УУ согласно п. 7.6, провести проверку работы двух сигнализаторов давления;
установить УУ в дежурный режим согласно п. 7.5.
9 Возможные неисправности и методы их устранения
9.1 Перечень возможных неисправностей УУ и способы их устранения приведены в таблице 4.
10 Транспортирование и хранение
10.1 Транспортирование УУ и комплектующего оборудования в упаковке следует проводить в крытых транспортных средствах любого вида в соответствии с правилами, действующими на данном виде транспорта. Условия транспортирования в части воздей-ствия климатических факторов должны соответствовать условиям 6 по ГОСТ 15150-69 с
нижним предельным значением температуры минус 50 °C, в части воздействия механических факторов – условиям С по ГОСТ 23170-78.
10.2 При погрузке и выгрузке следует избегать ударов и других неосторожных механических воздействий на тару.
10.3 После транспортирования УУ при отрицательных температурах воздуха, перед включением он должен быть выдержан в течение не менее 6 часов в помещении с нормальными климатическими условиями.
10.4 При транспортировании УУ в районы Крайнего Севера и труднодоступные районы должны соблюдаться требования ГОСТ 15846–2002.
10.5 До монтажа на защищаемом объекте УУ должен находиться в помещении или под навесом, где колебания температуры и влажности воздуха несущественно отличаются от колебаний на открытом воздухе (например, палатки, металлические хранилища без теплоизоляции), расположенные в макроклиматических районах с умеренным и холодным климатом в атмосфере любых типов, что соответствует условиям 5 по ГОСТ 15150-69 в части воздействия климатических факторов внешней среды.
11 Указания по утилизации
11.1 УУ не представляет опасности для окружающей среды и здоровья людей после окончания срока службы.
11.2 УУ не содержит драгоценных металлов.
11.3 УУ не выделяет вредных веществ в процессе эксплуатации и хранения. По истечении срока службы изделие подлежит утилизации на общепринятых основаниях. Других специальных мер при утилизации не требуется.
12 Гарантийные обязательства
12.1 Гарантийный срок эксплуатации УУ составляет 3 года со дня ввода в эксплуатацию, но не более 3,5 лет со дня отгрузки потребителю при соблюдении потребителем правил монтажа, эксплуатации, транспортирования и хранения.
12.2 Гарантийное обслуживание не производится в следующих случаях: нарушение требований, изложенных в настоящем руководстве;
если нормальная работа оборудования может быть восстановлена его надлежащей настройкой и регулировкой, очисткой от грязи, проведением технического обслуживания изделия.
Приложение А

Габаритные и присоединительные размеры (в миллиметрах) узла управления спринклерного воздушного (трубки дренажные не показаны)

Таблица А.1 - Габаритные и присоединительные размеры узла управления спринклерного воздушного
Приложение Б
Схема гидравлическая принципиальная узла управления спринклерного воздушного


Таблица Б.1 - Обозначения, используемые в схеме гидравлической принципиальной узла управления спринклерного воздушного
Приложение В




